Joint de réhausse
- François J
- Messages : 354
- Enregistré le : ven. 1 mai 2020 16:23
- Modèle de caravane : FAMILIA 310 FEY - 2012 / VW T-roc 150ch - boite auto
- prénom : François
- Localisation : Seyssins - 38
- Contact :
Re: Joint de réhausse
J'ai téléphoné à Lusospace pour valider la résistance aux UV et que nouveau modèle était adapté au toit ouvrant de caravane... Réponse un peu hésitante mais oui.
Téléphoné au Comptoir de la Carrosserie : réponse franche "Evidemment ce sont des joints (noirs) pour voitures donc résistants aux UV !"
Concernant mon joint bien fatigué, voici ses mesures : profondeur pince -> 12mm, Bourrelet -> 15mm (soit environ 30mm au total) Epaisseur 4,5mm au pied à coulisse
Du coup parmi les nombreux choix du Comptoir, que pensez vous du 310 ?
https://www.comptoir-carrosserie.fr/pro ... -5315.html
Téléphoné au Comptoir de la Carrosserie : réponse franche "Evidemment ce sont des joints (noirs) pour voitures donc résistants aux UV !"
Concernant mon joint bien fatigué, voici ses mesures : profondeur pince -> 12mm, Bourrelet -> 15mm (soit environ 30mm au total) Epaisseur 4,5mm au pied à coulisse
Du coup parmi les nombreux choix du Comptoir, que pensez vous du 310 ?
https://www.comptoir-carrosserie.fr/pro ... -5315.html
François
-
cabouille du 30
- Messages : 999
- Enregistré le : ven. 14 avr. 2017 14:41
- Modèle de caravane : 530 GT 2002
- prénom : CABOUILLE
- Localisation : SAVOIE
- Contact :
Re: Joint de réhausse
Il vaut mieux voir avec Cernay, caravanes services en cas de doutes. Nous l'avons fait faire par Cernay, à l'occasion de la grosse révision de notre caravane. Le matériel était résistant à l'époque car le joint était d'origine( 2002) et la partie mousse commençait à se décoller sur quelques centimètres.
Denis nous a rassuré, ce joint n'est pas un joint d'étanchéité mais de finition. Bien entendu, il vaut mieux qu'il soit en bon état pour éviter à l'eau de trop rentrer et stagner contre la toile.
Denis nous a rassuré, ce joint n'est pas un joint d'étanchéité mais de finition. Bien entendu, il vaut mieux qu'il soit en bon état pour éviter à l'eau de trop rentrer et stagner contre la toile.
- LANDERIBA
- Messages : 20744
- Enregistré le : sam. 1 nov. 2008 13:37
- Modèle de caravane : Familia de 1992 + Defender 110 de 1998. Land 109 de 1972.
- prénom : J-Pierre + Marie-Thé
- Localisation : Centre Bretagne Pontivy Morbihan
- Contact :
Re: Joint de réhausse
cabouille du 30 a écrit : mar. 29 mars 2022 22:40
Denis nous a rassuré, ce joint n'est pas un joint d'étanchéité mais de finition. Bien entendu, il vaut mieux qu'il soit en bon état pour éviter à l'eau de trop rentrer et stagner contre la toile.
D'ailleurs les premières caravanes n'en avaient pas et par les vibrations dues au roulage, au vent etc... le champignon creusait le toit à l'endroit où il appuyait, et comme la bordure du champignon était plus ou moins droite, plutôt moins d'ailleurs, il a été ajouté ce joint de protection.
JP
t
- François J
- Messages : 354
- Enregistré le : ven. 1 mai 2020 16:23
- Modèle de caravane : FAMILIA 310 FEY - 2012 / VW T-roc 150ch - boite auto
- prénom : François
- Localisation : Seyssins - 38
- Contact :
Re: Joint de réhausse
J'ai contacté Cernay qui m'a précisé qu'il fallait pour notre Familia de 2012, prendre un joint > 2010. comme ceci (Loisirs caravanes) :
François
-
cabouille du 30
- Messages : 999
- Enregistré le : ven. 14 avr. 2017 14:41
- Modèle de caravane : 530 GT 2002
- prénom : CABOUILLE
- Localisation : SAVOIE
- Contact :
Re: Joint de réhausse
Y'a plus qu'à... La pose sur l'arrière doit être un peu délicate, surtout sur les modèles plus récents où la moustiquaire est fixe. Il faut simplement avoir le bras long 
- François J
- Messages : 354
- Enregistré le : ven. 1 mai 2020 16:23
- Modèle de caravane : FAMILIA 310 FEY - 2012 / VW T-roc 150ch - boite auto
- prénom : François
- Localisation : Seyssins - 38
- Contact :
Re: Joint de réhausse
Réponse du Comptoir à 2h40 du matin
:
Pour les Eriba, il utilise le modèle acheté par Oscar, https://www.comptoir-carrosserie.fr/pro ... 0-841.html.
Je vais tenté d’avoir son retour suite à sa pose il y a quelques années. 49€ livré pour 7ml (avec 8cm de libre à l’AR) au lieu de 220€ de joint Eriba, j’avoue qu’il n’y a pas photo !
Qui aurait le contact d’Oscar ? Il n’a pas activé sa messagerie perso
Pour les Eriba, il utilise le modèle acheté par Oscar, https://www.comptoir-carrosserie.fr/pro ... 0-841.html.
Je vais tenté d’avoir son retour suite à sa pose il y a quelques années. 49€ livré pour 7ml (avec 8cm de libre à l’AR) au lieu de 220€ de joint Eriba, j’avoue qu’il n’y a pas photo !
Qui aurait le contact d’Oscar ? Il n’a pas activé sa messagerie perso
Modifié en dernier par François J le mer. 30 mars 2022 14:29, modifié 1 fois.
François
- François J
- Messages : 354
- Enregistré le : ven. 1 mai 2020 16:23
- Modèle de caravane : FAMILIA 310 FEY - 2012 / VW T-roc 150ch - boite auto
- prénom : François
- Localisation : Seyssins - 38
- Contact :
Re: Joint de réhausse
Hello Jean, ton retour STP après 7 années d’utilisation ?oscar a écrit : jeu. 8 oct. 2015 12:21 Détrompe toi les dimensions de celui que j'ai posé sont à peu près identiques à celui d'origine; seule la forme de la partie assurant l'étanchéité diffère: une grande lèvre de 16mm au lieu d'un boudin incliné.
Une fois le toît descendu et verrouillé, la lèvre dirigée vers l'intérieur assure une parfaite étanchéité.
La pose est facile d'autant plus que le profil rigidifié par une armature intérieure souple (ruban inox) épouse parfaitement les arrondis
Pas de matériel de pose spécifique si ce n'est qu'une paire de gants et de l'huile de coude![]()
Préposer le joint en le présentant sur l'arête sur environ 1m et l'enfoncer au fur à mesure en le frappant avec la paume de la main.
@+
Jean
Merci.
François
- Les Comtois
- Messages : 6648
- Enregistré le : lun. 8 nov. 2010 23:29
- Modèle de caravane : Pontos 2009, Superpuck 98, skoda karoq scout 2.0l tdi 190cv
- prénom : Jean-Paul, Martine
- Localisation : 25
- Contact :
Re: Joint de réhausse
Je me souviens avoir changé le joint de toit de notre triton de 83 avec un joint de hayon de Clio récupéré à la casse

Jean-Paul
Où flotte le drapeau comtois, qui que tu sois, tu es chez toi.

Où flotte le drapeau comtois, qui que tu sois, tu es chez toi.

-
cabouille du 30
- Messages : 999
- Enregistré le : ven. 14 avr. 2017 14:41
- Modèle de caravane : 530 GT 2002
- prénom : CABOUILLE
- Localisation : SAVOIE
- Contact :
Re: Joint de réhausse
Le prix du joint d'origine a doublé en 2 ans, une centaine d'euros pour nous lors de la révision, en même temps ça ne m'étonne pas, le prix des pièces a pris une envolée digne d'une fusée.François J a écrit : mer. 30 mars 2022 09:15 Réponse du Comptoir à 2h40 du matin:
Pour les Eriba, il utilise le modèle acheté par Oscar, https://www.comptoir-carrosserie.fr/pro ... 0-841.html.
Je vais tenté d’avoir son retour suite à sa pose il y a quelques années. 49€ livré pour 7ml (avec 8cm de libre à l’AR) au lieu de 220€ de joint Eriba, j’avoue qu’il n’y a pas photo
- François J
- Messages : 354
- Enregistré le : ven. 1 mai 2020 16:23
- Modèle de caravane : FAMILIA 310 FEY - 2012 / VW T-roc 150ch - boite auto
- prénom : François
- Localisation : Seyssins - 38
- Contact :
Re: Joint de réhausse
Voici le comparatif ancien et nouveau. Un peu plus profond côté armature et un peu plus épais côté joint extérieur auraient été parfaits (mais bonne épaisseur de contact !).
Ça tient parfaitement au rebord du toit.
Ça tient parfaitement au rebord du toit.
François
- François J
- Messages : 354
- Enregistré le : ven. 1 mai 2020 16:23
- Modèle de caravane : FAMILIA 310 FEY - 2012 / VW T-roc 150ch - boite auto
- prénom : François
- Localisation : Seyssins - 38
- Contact :
Re: Joint de réhausse
Joint commandé au Comptoir ce jour. Trop sympa, il me proposait de m’envoyer encore d’autres échantillons ! Il y avait en effet deux autres alternatives possibles avec boudin. Mais comme le modèle retenu plaque vraiment bien sur le toit inférieur, et qu’il m’a assuré que les eribistes le privilégiaient, je lui ai fait confiance.
50€ les 7ml livrés !
Photos prévues une fois installé.
Je vous recommande à mon tour le Comptoir de la carrosserie
50€ les 7ml livrés !
Photos prévues une fois installé.
Je vous recommande à mon tour le Comptoir de la carrosserie
- Fichiers joints
-
- 132D0028-59C0-46B8-8DA9-DE830E5FE96B.jpeg (139.09 Kio) Vu 7505 fois
François
- Ddu01
- Messages : 1329
- Enregistré le : sam. 4 mars 2017 18:39
- Modèle de caravane : ERIBA TRITON GT 418 tractée par SUBARU FORESTER
- prénom : Danielle et Michel
- Localisation : AIN
- Contact :
Re: Joint de réhausse
« Veux-tu être heureux ? Donne du bonheur… » (Saint-Exupéry)
- kalou
- Messages : 1020
- Enregistré le : jeu. 23 juil. 2009 21:22
- Modèle de caravane : Triton 430
- prénom : Pascal et Patricia
- Localisation : Finistère
- Contact :
Re: Joint de réhausse
Merci pour l'adresse que je connais bien, car déjà fait une commande pour la 2 CV, très pro 


Pascal et Patricia
- François J
- Messages : 354
- Enregistré le : ven. 1 mai 2020 16:23
- Modèle de caravane : FAMILIA 310 FEY - 2012 / VW T-roc 150ch - boite auto
- prénom : François
- Localisation : Seyssins - 38
- Contact :
Re: Joint de réhausse
Résultat satisfaisant.
Juste sur 1 côté, le joint ne plaque pas car le toit de la rehausse vient en butée dans les 2 angles (?) ou alors est déformé (?).
Bien sûr que le joint Eriba avec son bourrelet doit masquer ces imperfections…
Votre avis ?
Merci
François
-
cabouille du 30
- Messages : 999
- Enregistré le : ven. 14 avr. 2017 14:41
- Modèle de caravane : 530 GT 2002
- prénom : CABOUILLE
- Localisation : SAVOIE
- Contact :
Re: Joint de réhausse
Oui oui, c'est un peu du sport de mettre ce joint confirmé par Gino, il faut avoir le bras long
,il fait le job ton joint, parfait. En plus question prix impeccable.
- Eribaba
- Messages : 9
- Enregistré le : lun. 6 mars 2017 22:37
- Modèle de caravane : Triton 430 GT
- prénom : Stéphane
- Localisation : Coulommiers
- Contact :
Re: Joint de réhausse
Bonjour,
Retour d'expérience à propos du changement du joint du champignon d'une Triton 430 GT de 2007 et suite à la lecture de ce fil de discussion :
Commandé auprès du Comptoir de la Carrosserie la référence "Profil à armature métallique spécial n°447"
Longueur : 8ml (45€ ttc plus 9€ frais de port, tarifs août 21)
La pose nécessite un peu de patience et est facilitée avec de grands bras
Fermeture du champignon sans problème côté crochets intérieurs.
Un grand merci aux contributeurs et contributrices du forum pour toutes ces infos partagées qui nous rendent de grands services, qui nous font gagner du temps grâce aux retours d'expériences, voilou c'est dit! Bonne route!
Retour d'expérience à propos du changement du joint du champignon d'une Triton 430 GT de 2007 et suite à la lecture de ce fil de discussion :
Commandé auprès du Comptoir de la Carrosserie la référence "Profil à armature métallique spécial n°447"
Longueur : 8ml (45€ ttc plus 9€ frais de port, tarifs août 21)
La pose nécessite un peu de patience et est facilitée avec de grands bras
Fermeture du champignon sans problème côté crochets intérieurs.
Un grand merci aux contributeurs et contributrices du forum pour toutes ces infos partagées qui nous rendent de grands services, qui nous font gagner du temps grâce aux retours d'expériences, voilou c'est dit! Bonne route!
- Cl.jean
- Messages : 26
- Enregistré le : dim. 28 nov. 2021 18:07
- Modèle de caravane : Eriba Pan Familia 1991
- prénom : Jean22
- Localisation : Haute-Garonne
- Contact :
Re: Joint de réhausse
Bonjour à tous,
Petit désagrément sur le toit de mon Eriba Pan Familia 1991: le joint du "toit champignon" s'est décollé sur 80 cm en soulevant le "champignon". J'ai remboîté le joint, nettoyé sommairement cette partie de joint et de toit (un mélange durci de terre et de crasse avait fait office de colle), et poursuivi mon chemin sans nouveau problème (normal, si on choisit une Eriba c'est bien pour ne ne pas avoir de problème...).
Ce matin, de retour chez moi, j'ai soigneusement nettoyé à l'eau savonneuse l'ensemble du joint (qui s'avère être en très bon état) et le dessus du toit, puis ai consulté ce forum;
Voici mes 2 questions:
1-pour entretenir ce joint, préconisez-vous de le badigeonner plutôt avec de la graisse silicone, ou plutôt avec du talc?
2-ce joint est-il simplement clipsé, ou collé d'origine? A noter que je craignais d'être obligé de le recoller (colle néoprène?), mais cela ne me parait pas nécessaire.
Par avance merci merci pour vos conseils et votre expérience.
Petit désagrément sur le toit de mon Eriba Pan Familia 1991: le joint du "toit champignon" s'est décollé sur 80 cm en soulevant le "champignon". J'ai remboîté le joint, nettoyé sommairement cette partie de joint et de toit (un mélange durci de terre et de crasse avait fait office de colle), et poursuivi mon chemin sans nouveau problème (normal, si on choisit une Eriba c'est bien pour ne ne pas avoir de problème...).
Ce matin, de retour chez moi, j'ai soigneusement nettoyé à l'eau savonneuse l'ensemble du joint (qui s'avère être en très bon état) et le dessus du toit, puis ai consulté ce forum;
Voici mes 2 questions:
1-pour entretenir ce joint, préconisez-vous de le badigeonner plutôt avec de la graisse silicone, ou plutôt avec du talc?
2-ce joint est-il simplement clipsé, ou collé d'origine? A noter que je craignais d'être obligé de le recoller (colle néoprène?), mais cela ne me parait pas nécessaire.
Par avance merci merci pour vos conseils et votre expérience.
- LANDERIBA
- Messages : 20744
- Enregistré le : sam. 1 nov. 2008 13:37
- Modèle de caravane : Familia de 1992 + Defender 110 de 1998. Land 109 de 1972.
- prénom : J-Pierre + Marie-Thé
- Localisation : Centre Bretagne Pontivy Morbihan
- Contact :
Re: Joint de réhausse
Ce joint a une armature acier qui serre sur le champignon. Si en vieillissant il craquelle l'insert en acier se corrode et ne fait plus sont office, il est bon à changer. Ça se trouve et n'est pas spécifique à Eriba. Une adresse, entre autre : le Comptoir de la Carrosserie.
https://www.comptoir-carrosserie.fr/
JP
- Cl.jean
- Messages : 26
- Enregistré le : dim. 28 nov. 2021 18:07
- Modèle de caravane : Eriba Pan Familia 1991
- prénom : Jean22
- Localisation : Haute-Garonne
- Contact :
Re: Joint de réhausse
Merci JP,
J'ai noté que le joint n'est pas fixé par de la colle. Son aspect ne présentant pas de signes de détérioration, je vais le conserver tel quel et ne le remplacerai que s'il se dégradait. Bien sûr je surveillerai sa propreté afin qu'il ne se recolle pas au toit, ce qui avait provoqué son "dessertissage".
Que me conseillez-vous pour son entretien, et l'entretien des joints de fenêtre: de la graisse silicone , ou tout simplement du talc?
Par avance merci.
J'ai noté que le joint n'est pas fixé par de la colle. Son aspect ne présentant pas de signes de détérioration, je vais le conserver tel quel et ne le remplacerai que s'il se dégradait. Bien sûr je surveillerai sa propreté afin qu'il ne se recolle pas au toit, ce qui avait provoqué son "dessertissage".
Que me conseillez-vous pour son entretien, et l'entretien des joints de fenêtre: de la graisse silicone , ou tout simplement du talc?
Par avance merci.
- IZHJupiter3
- Messages : 80
- Enregistré le : jeu. 10 juil. 2025 09:40
- Modèle de caravane : Eriba Triton 1000 de 1995
- prénom : Frank
- Localisation : Marne
- Contact :
Re: Joint de réhausse
Bonjour à tous,
Nouveau possesseur d'une Triton de 1995 toute belle, j'ai toutefois remarqué que le joint relevable ne collait pas bien au toit lui-même, surtout sur le devant et l'arrière, endroits ou il se relève un peu, sans doute par des tentatives de lever le toit seul...
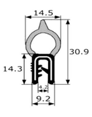
Le joint actuel me semble peu adapté, sans doute changé en cours de route, car le profil rond est à coté de la partie en "U" qui se clipe sur le toit, et elle est de plus pourvue d'une mini lèvre qui est dirigée... vers le haut !
Voici le profil, lèvre indiquée par une flèche: Je vais commander les 8 mètres nécéssaires, ref 447 sur le comptoir de la carrosserie, mais je remarque que plus haut, il est montré sur un toit d'Eriba plus récente, et se trouve "snappé" un peu en biais, et non verticalement ! ( Le bord de mon toit est vertical, et en théorie, la lèvre, plus vertyicale collera encore plus ).
Pouvez-vous svp me confirmer que pour ce modèle abncien, il va convenir, car je pensais aussi à celui-ci:
https://www.comptoir-carrosserie.fr/pro ... -5315.html
Merci par avance !
Nouveau possesseur d'une Triton de 1995 toute belle, j'ai toutefois remarqué que le joint relevable ne collait pas bien au toit lui-même, surtout sur le devant et l'arrière, endroits ou il se relève un peu, sans doute par des tentatives de lever le toit seul...
Le joint actuel me semble peu adapté, sans doute changé en cours de route, car le profil rond est à coté de la partie en "U" qui se clipe sur le toit, et elle est de plus pourvue d'une mini lèvre qui est dirigée... vers le haut !
Voici le profil, lèvre indiquée par une flèche: Je vais commander les 8 mètres nécéssaires, ref 447 sur le comptoir de la carrosserie, mais je remarque que plus haut, il est montré sur un toit d'Eriba plus récente, et se trouve "snappé" un peu en biais, et non verticalement ! ( Le bord de mon toit est vertical, et en théorie, la lèvre, plus vertyicale collera encore plus ).
Pouvez-vous svp me confirmer que pour ce modèle abncien, il va convenir, car je pensais aussi à celui-ci:
https://www.comptoir-carrosserie.fr/pro ... -5315.html
Merci par avance !
- IZHJupiter3
- Messages : 80
- Enregistré le : jeu. 10 juil. 2025 09:40
- Modèle de caravane : Eriba Triton 1000 de 1995
- prénom : Frank
- Localisation : Marne
- Contact :
Re: Joint de réhausse
Bon, j'ai commandé ce profil en forme de virgule, mais se pose la question de savoir si on oriente la lèvre du joint vers l'intérieur ou vers l'extérieur ?
Pour ma part, vu ce que j'ai trouvé en place et le commentaire d'Oscar ( il me semble ), c'est la lèvre vers l'intérieur...
Je suis OK ?
Pour ma part, vu ce que j'ai trouvé en place et le commentaire d'Oscar ( il me semble ), c'est la lèvre vers l'intérieur...
Je suis OK ?
- LANDERIBA
- Messages : 20744
- Enregistré le : sam. 1 nov. 2008 13:37
- Modèle de caravane : Familia de 1992 + Defender 110 de 1998. Land 109 de 1972.
- prénom : J-Pierre + Marie-Thé
- Localisation : Centre Bretagne Pontivy Morbihan
- Contact :
Re: Joint de réhausse
Perso, techniquement je l'aurais mise vers l'extérieur pour qu'elle plaque plus avec la pression de l'air, mais chacun fait comme bon il lui semble.
JP
JP
- IZHJupiter3
- Messages : 80
- Enregistré le : jeu. 10 juil. 2025 09:40
- Modèle de caravane : Eriba Triton 1000 de 1995
- prénom : Frank
- Localisation : Marne
- Contact :
Re: Joint de réhausse
Oui, selon le principe du joint spi, orienté de façon à ce que la pression exercée ait tendance à renforcer l'étanchéité...
Mai là, j'ai trouvé un joint, sans doute d'origine, avec un bourrelet rond posé vers l'intérieur de la ferrure et bordé d'une petite lèvre elle même dirigée dans le même sens !
Le tout est de savoir s'il n'était pas posé à l'envers !
J'ai fait un essai lèvre vers l'extérieur, mais comme mon rebord est vertical et le joint assez droit, j'ai peur qu'en fermant le toit, il ait tendance à ne pas s'aplatir vers l'extérieur. Et sur toutes les photos vues, on ne remarque que le U en caoutchouc qui vient pincer le bord du toit, donc le reste est à l'intérieur.
Ça reste en suspens cette histoire.
Mai là, j'ai trouvé un joint, sans doute d'origine, avec un bourrelet rond posé vers l'intérieur de la ferrure et bordé d'une petite lèvre elle même dirigée dans le même sens !
Le tout est de savoir s'il n'était pas posé à l'envers !
J'ai fait un essai lèvre vers l'extérieur, mais comme mon rebord est vertical et le joint assez droit, j'ai peur qu'en fermant le toit, il ait tendance à ne pas s'aplatir vers l'extérieur. Et sur toutes les photos vues, on ne remarque que le U en caoutchouc qui vient pincer le bord du toit, donc le reste est à l'intérieur.
Ça reste en suspens cette histoire.
- Eribawoman
- Messages : 154
- Enregistré le : sam. 8 mars 2014 11:24
- Modèle de caravane : Puck'L
- prénom : yv
- Contact :
Re: Joint de réhausse
Bonjour
Merci au forum pour les infos
Pour moi aussi mon snapon de toit d'origine était fatigué, donc j'ai suivi vos conseils en passant commande chez https://www.comptoir-carrosserie.fr/
marchandise bien reçu
, reste à le monter au retour de l'hivernage
Amicalement
Yv
Merci au forum pour les infos
Pour moi aussi mon snapon de toit d'origine était fatigué, donc j'ai suivi vos conseils en passant commande chez https://www.comptoir-carrosserie.fr/
marchandise bien reçu
Amicalement
Yv
-
cabouille du 30
- Messages : 999
- Enregistré le : ven. 14 avr. 2017 14:41
- Modèle de caravane : 530 GT 2002
- prénom : CABOUILLE
- Localisation : SAVOIE
- Contact :
Re: Joint de réhausse
Pas de stress pour le joint qui n'est qu'un joint de finition, pas d'étanchéité.
- LANDERIBA
- Messages : 20744
- Enregistré le : sam. 1 nov. 2008 13:37
- Modèle de caravane : Familia de 1992 + Defender 110 de 1998. Land 109 de 1972.
- prénom : J-Pierre + Marie-Thé
- Localisation : Centre Bretagne Pontivy Morbihan
- Contact :
Re: Joint de réhausse
Peut être une fois le breton traduit en français = "joint de réhausse"..Eribawoman a écrit : jeu. 25 sept. 2025 16:47 Bonjour
Merci au forum pour les infos![]()
Pour moi aussi mon snapon de toit d'origine était fatigué, donc j'ai suivi vos conseils en passant commande chez https://www.comptoir-carrosserie.fr/
marchandise bien reçu, reste à le monter au retour de l'hivernage
Amicalement
Yv
Ce n'est pas un joint à vrai dire, mais une protection du toit, les 1ères
JP
Qui est en ligne
Utilisateurs parcourant ce forum : Aucun utilisateur enregistré et 1 invité
